These are the specifications for Wave Mic Arm LP.
- Horizontal Reach
- Lower arm desk clearance
- Upper arm desk clearance
- Horizontal rotation
- Vertical rotation
- Desk clamp
- Maximum load
- In The Box
Technical Specifications
Horizontal reach
- 740 mm / 29.1 in
Lower arm desk clearance
- 70 mm / 2.8 in
- 101 mm / 3.98 in
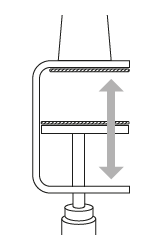
Upper arm desk clearance
- 160 mm / 6.3 in
Horizontal rotation
- 360 degrees (base and elbow)
Vertical rotation
- 90 degrees up / 60 degrees down (elbow)
- An updated version of Wave Mic Arm LP includes a permanent wingnut for locking the vertical height
Desk clamp
- Expandable up to 60 mm / 2.4 in
Maximum load
- 2 kg / 4.4 lbs (mic and accessories)
In the Box
- Wave Mic Arm LP
- 1/4" to 3/8" and 1/4" to 5/8" Adaptors
- Allen Wrench
- Quick Start Guide
ℹ️ An updated version of Wave Mic Arm LP includes a permanent wingnut for locking the vertical height.